产品型号:Q941F
公称通径:DN15-300mm
公称压力:PN1.6-6.4MPa
适用温度:-28℃- 300℃
阀体材质:不锈钢CF8
适用介质:蒸汽、水,硝酸类,醋酸类
产品结构特征
系列浮动式球阀主要适用于天然气、油品、化工、冶金、城建、环保、制药、食品等行业,其中抗硫系列产品适用于含硫化氢介质、杂质多、腐蚀严重的天然气长输管线。
其主要结构特点有
1.浮动式球阀采用双斜面弹性密封圈或V型槽弹性密封圈结构设计,保证密封的可靠性,对于低压、超低压或真空工况用球阀,采用板簧加载的阀座密封结构,能确保球阀长期可靠的密封。中、高温球阀的阀座材料可选用对位聚苯或金属材料。
2.自动泄压结构;当中腔压力出现异常升高现象时,中腔介质能依靠本身的推力推动阀座而自动泄压,从而确保阀体的安全。
3.阀杆的可靠密封;阀杆采用有倒密封的下装式结构,倒密封的密封力随介质压力的增高而增大,故能确保阀杆的可靠密封,而且,当阀腔异常升压时,阀杆不会喷出。
4.防火结构;根据工况及用户的需要,球阀可设计为防火结构。球阀的耐火设计执行API 607、API 6FA及JB/T 6899等标准的规定,一旦发生火灾而使软密封圈烧损时,球阀的防火结构可阻止介质的大量泄漏,防止火灾的进一步扩大。
5.防静电结构;当操作阀门时,由于球体和阀座之间的摩擦,会产生静电电荷并积聚在球体上,为防止产生静电火花,特在阀门上设置院静电装置,将积聚在球体上的电荷导出。
6.锁定装置;在手动球阀的全开、全闭两点位置上设计可上锁的结构,这样,可防止误操作以及不可预知的线路振动而产生的不应有的开关现象,特别是在可燃性介质的石油类和化学药品的生产线,以及阀门在室外配管时,这种设计体现出的优点和实际效果特别好。
7.全通径结构及缩径结构;为满足用户的不同需要,本公司球阀产品有全通径及缩径两种系列。全通径球阀的通道内径与管道内径一致,便于管理清扫,而缩径系列球阀的重量相对较轻,但流体阻力仅为相同口径截止阀的1/7左右,故缩径系列球阀的应用前景较为广阔。
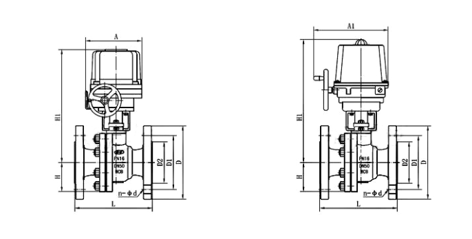
主要外形尺寸
|
公称通径 DN(mm) |
15 |
20 |
25 |
32 |
40 |
50 |
65 |
80 |
100 |
125 |
150 |
200 |
250 |
300 |
|
L |
130 |
140 |
150 |
165 |
180 |
200 |
220 |
250 |
280 |
320 |
360 |
400 |
630 |
750 |
|
H |
44.5 |
49 |
55 |
65 |
65 |
75 |
90 |
95 |
115 |
127 |
140 |
172.5 |
310 |
350 |
|
H1 |
根据所配执行机构型号而定 |
|||||||||||||
|
D |
95 |
105 |
115 |
140 |
150 |
165 |
185 |
200 |
220 |
250 |
285 |
340 |
405 |
460 |
|
D1 |
65 |
75 |
85 |
100 |
110 |
125 |
145 |
160 |
180 |
210 |
240 |
295 |
355 |
410 |
|
D2 |
46 |
56 |
65 |
76 |
84 |
99 |
118 |
132 |
156 |
184 |
211 |
266 |
319 |
370 |
|
n-φd |
4-14 |
4-14 |
4-14 |
4-18 |
4-18 |
4-18 |
4-18 |
8-18 |
8-18 |
8-18 |
8-22 |
12-22 |
12-26 |
12-26 |
|
A、A1 |
根据阀门所需力矩而定,配置机型不同,外形尺寸也不相同 |
|||||||||||||